MMT Forum Macchine

Annuncio

Collapse
No announcement yet.

Dove trovare ricambio commerciale?

Collapse
X
 
  • Filtro
  • Data
  • Visualizza
Cancella tutto
new posts

  • Dove trovare ricambio commerciale?

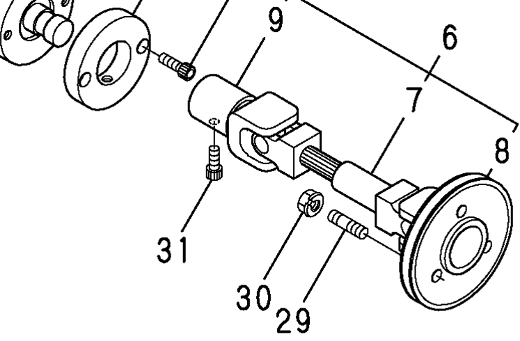
    Salve mi trovo a dover sostituire su un mini escavatore Yanmar vio 40-2 la trasmissione che va dal motore alla ventola radiatore ( come mostrato nella immaggine allegata, particolare pezzo numero 6 ), il pezzo che è tra le 2 criciere non essendo ingrassabile si è allentato e a minimo fa un cavolo di rumore. Il pezzo originale mi è stato proposto a 1300 +iva, vorrei chiedervi se è possibile trovare soluzioni meno costore.

    Un grazie in anticipo.
    Attached Files

  • #2
    Anche se il pezzo fosse l'intero cardano completo, 1300 + iva € mi sembrano veramente una esagerazione.
    Così ad occhio non hò idea delle dimensioni reali del pezzo.
    Una soluzione (non proprio all'avanguardia...) potrebbe essere recuperare un vecchio piantone sterzo di qualche vettura in demolizione, farlo adattare dau un buon tornitore.
    Il costo sarà decisamente minore.
    Nel caso del nuovo oppure dell'adattamento, sarebbe il caso di proteggere lo scorrevole tramite una cuffia, previo un ingrassaggio.
    Marco B

    Commenta


    • #3
      Grazie marco B della risposta, si il prezzo sembra essere proprio quello, spiego nel dettaglio: la trasmissione come detto sopra fa girare la ventola del radiatore,per evitare che le vibrazioni del motore si trasmettino al telaio ove è ancorata la puleggia per la chingnia che va alla ventola, il pezzo tra le 2 crociere è costituito da uno sfilo che puo infilarsi e sfilarsi. La soluzione del piantone dovrebbe tener conto anche di questo. Il pezzo è lungo circa 40 centimetri.Mi chiedo, ma qualche cosa di simile sul mercato commerciale non c'è?

      saluti

      Commenta


      • #4
        Ciao St4
        ho visto nel disegno il pezzo da sostituire,potresti provare a costruire l'albero cardanico nuovo reperendo il materiale da un ricambista agricolo i particolare crociere e tubolari a cannochiale, ovviamente nelle misure e proporzione che ti serve, e poi adattandolo ai collegamenti puleggia ventola, spero di essermi spiegato
        saluti luca

        Commenta


        • #5
          Originalmente inviato da St4 Visualizza messaggio
          Il pezzo è lungo circa 40 centimetri.Mi chiedo, ma qualche cosa di simile sul mercato commerciale non c'è?

          saluti
          Di commerciale si trovano sicuramente alberi e boccole scanalate a norma UNI,fome particolari bisogna farle costruire.
          Batti "alberi scanalati" sul motore di ricerca:ci sono tante cose.
          C

          Commenta


          • #6
            dove trovare ricambio commerciale

            salve st4 mi sembra un po eccessivo come prezzo son dacordo con Marco ma ai chiesto ad altri concessionari YAMMAR sai quello è un furto eppure ricambisti Yammar se ne trovano puoi provare farlo artigianale con un bravo tornitore ma se non ricordo male quel tipo di crocere avevano una misura un po strana magari prova chiedere al CENTRO DISEL lo trovi su internet oppure la RMC di Piacenza che sono ricambisti e concessionari YAMMAR

            Commenta


            • #7
              Originalmente inviato da St4 Visualizza messaggio
              ... il pezzo tra le 2 crociere è costituito da uno sfilo che puo infilarsi e sfilarsi. La soluzione del piantone dovrebbe tener conto anche di questo...
              Il piantone in se per se è composto da svariati snodi e alberi griffati che possono scorrere tra loro, allungandosi ed accorciandosi entro certi limiti.(A: per garantire un margine di sicurezza in caso di incidente. B: piantoni regolabili in altezza ed inclinazione).
              Cosa non meno importante una buona equilibratura del tutto, essendo l'albero collegato direttamente al motore, per evitare vibrazioni anomale.
              Marco B

              Commenta


              • #8
                Grazie mille a tutti per i consiglio, appena ho novità vi rendo partecipi.

                Salutoni.

                Commenta


                • #9
                  Buona domenica a tutti, ho fato un secondo preventivo ed il prezzo di listino sembra essere proprio seui 1300 più iva, scontato siamo sui 900 euro, mi sembra un pò tantino. Per il momento il pezzo non è a rischio rottura, per i momento mi tengo il rumore, in attesa di trovare un buon tornitore che sappia rigenerare il pezzo.
                  Avete qualche buon tornitore da consigliarmi? Zona centro italia.

                  Saluti Stefano

                  Commenta

                  Caricamento...
                  X