MMT Forum Macchine

Annuncio

Collapse
No announcement yet.

Collegare pompa variabile

Collapse
X
 
  • Filtro
  • Data
  • Visualizza
Cancella tutto
new posts

  • Collegare pompa variabile

    Salve,sono in possesso della pompa visibile nelle foto allegate ma non ho alcuna informazione in merito ne alcuna documentazione.
    So che è a pistoni assiali a cilindrata variabile con accoppiata una pompa a ingranaggi che per ora non mi interessa.
    Mi chiedevo se la pompa in questione vada collegata a circuito aperto o a circuito chiuso e nello specifico come vada collegata ad un eventuale motore oleodinamico.Mio padre sostiene che i raccordi sotto ai tappi rossi piccoli vanno al motore oleodinamico mentre i 2 piu grossi sono l'aspirazione e la mandata da collegare a un serbatoio.è corretto?



  • #2
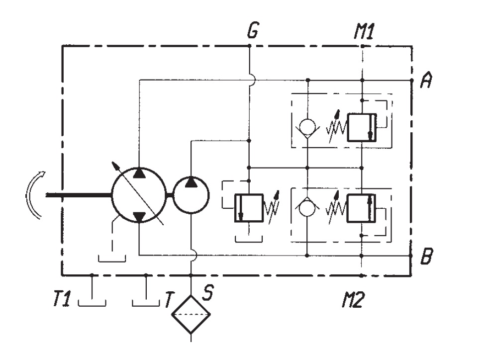
    dobrebbe essere una pompa a pistoni assiali e cilindrata variabile manualmente per circuito chiuso con questo tipo di schema:

    A e B agli utilizzi

    T al drenaggio

    S all'aspirazione

    G sovralimentazione ausiliaria
    Attached Files

    Commenta


    • #3
      Grazie mille! ma purtroppo non sono esperto di pompe e ho ancora qualche dubbio...
      Ma il drenaggio deve andare in scarico nel serbatoio?
      E la sovralimentazione ausiliaria cosa sarebbe?

      In fine,ho presente lo schema di base di un circuito chiuso in cui la pompa aspira direttamente dallo scarico dell'utenza e quindi in questo caso i tappi A e B vanno all'utenza.
      Ma se la pompa a circuito chiuso aspira dall'utenza a cosa serve il tappo S di aspirazione?

      Commenta


      • #4
        Non sò di preciso cosa è G, ma potrebbe essere solamente un tappo oppure una valvola tra le due mandate.
        Il collegamento dovrebbe essere questo:
        Attached Files
        Luca C.

        Commenta


        • #5
          Eccolo!!!!! sapevo di poter contare sul mio archivio.

          Questo dovrebbe essere lo schema di quella pompa.... ne ho una del tutto simile della COMAR


          Quindi G dovrebbe essere il tappo da dove eventualmente prelevi la sovralimentazione... credo serva per l'eventuale riempimento di un'altra pompa per circuito chiuso messa in tandem con quella
          Attached Files

          Commenta


          • #6
            Solitamente si utilizza quel ramo (circa 30 bar) per alimentare l'elettrovalvola che sfrena il motore idraulico oppure che alimenta un servocomando........
            Luca C.

            Commenta


            • #7
              Originalmente inviato da Gallerani Visualizza messaggio
              Ma se la pompa a circuito chiuso aspira dall'utenza a cosa serve il tappo S di aspirazione?
              Su alcuni motori idraulici vi è un tubo di drenaggio, per recuperare i trafilamenti interni, l'aspirazione S permette il reintegro dell'olio trafilato.
              Marco B

              Commenta


              • #8
                Originalmente inviato da Marco Bellincam Visualizza messaggio
                Su alcuni motori idraulici vi è un tubo di drenaggio, per recuperare i trafilamenti interni, l'aspirazione S permette il reintegro dell'olio trafilato.
                Hai qualche foto o schema di un impianto a centro chiuso del genere?
                Luca C.

                Commenta

                Caricamento...
                X