Qualcuno saprebbe spiegarmi a cosa serve?
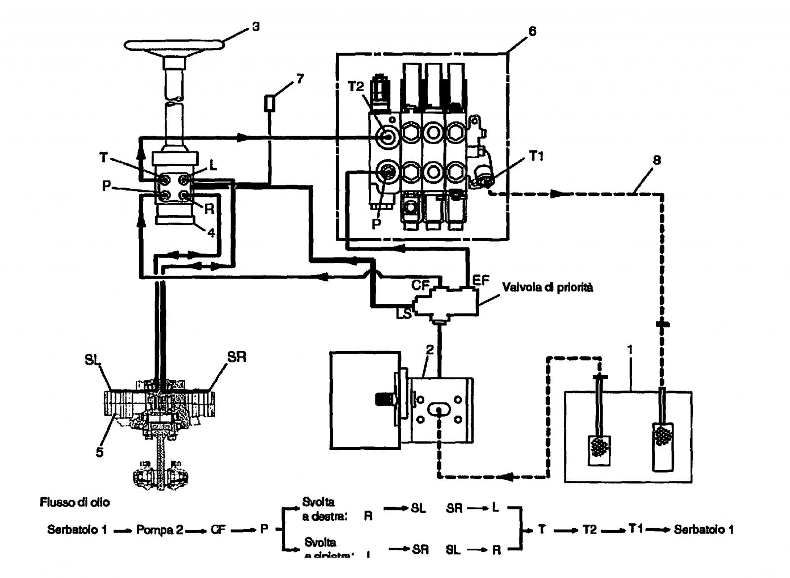
dovrebbe chiamarsi anche valvola di "massima"....
è collegata allo sterzo e al distributore.....
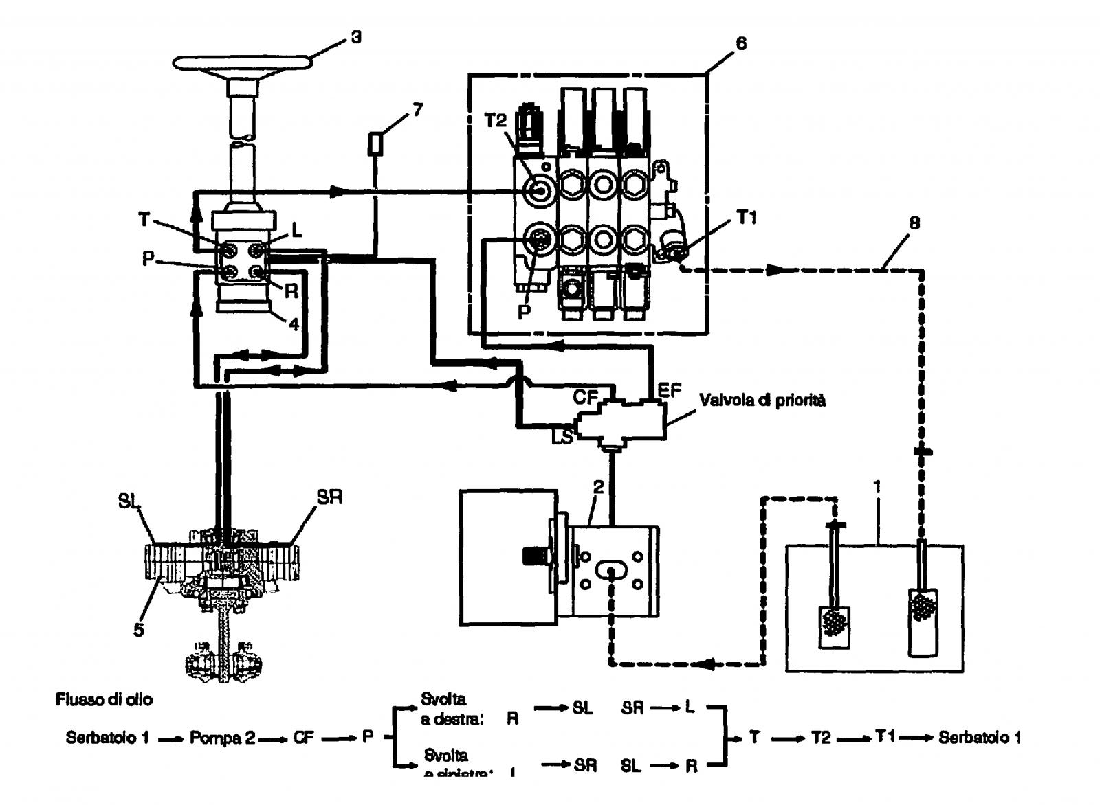
dovrebbe chiamarsi anche valvola di "massima"....
è collegata allo sterzo e al distributore.....

Commenta