MMT Forum Macchine

Annuncio

Collapse
No announcement yet.

Terminologia motoristica...

Collapse
X
 
  • Filtro
  • Data
  • Visualizza
Cancella tutto
new posts

  • Quello che hai riscontrato, non é la turbolenza, ma l'effetto Coriolis, dovuto alla rotazione terrestre, la turbolenza viene aiutata dal profilo dei pistoni, ma viene generata da forma e dimensioni dei condotti di alimentazione, inoltre i fluidi "acquiferi" e quelli gassosi hanno comportamenti relativamente ai moti laminari e turbolenti, completamente diversi.
    per le tue prove dovresti usare un generatore di fumo ed un phon con il pistone inserito nel cilindro, per avere una idea del comportamento dei flussi.
    Con il phon, puoi inoltre cercare di asciugare il macello che hai combinato con l'acqua in bagno.

    Commenta


    • non, non vedo un vortice bensi un ricircolo attorno ad un'asse "circolare": non so se mi spiergo ma le bollicine formavano proprio la forma di un toro. Ma la camera saurer non è una specie di precamera tra l'altro? Non posso purtroppo fare le prove che mi consigli...
      grazie cmq

      Commenta


      • Scusate se ripesco questo argomento, ma qui si è parlato un po' di tutto (tra l'altro tutti temi interessantissimi).

        Vorrei porre un quesito: ho aperto un vecchio motore Deutz ( serie FL) ed ho notato con mia sorpresa che non ha guarnizione in testa. Sinceramente mi ha lasciato un po' stupita la cosa, in quanto in questo motore mi aspettavo di trovare la suddetta guarnizione (quella in lamierino spessore qualche decimo, per capirci). Effettivamente poi ho aperto il kit "smeriglio" che mi sono procurato ed effettivamente dentro non vi è nessuna guarnizione per l'accoppiamento testa-cilindro.

        Premesso che si tratta di motori con teste divise (e quindi sicuramente il binomio testa-cilindro è piu' facilmente "accoppiabile"), ma non sarebbe meglio avere comunque una guarnizione?

        Commenta


        • Uhmm, no answers?

          Dai, non fate i timidi....

          Commenta


          • E' questione di precisione '' made in Germany''.

            Commenta


            • Filippo, intanto , guarda belli :





              Per il deutz sai che non ricordo? Ne ho avuto solo 2, un 8 ed un 10 cilindri ma mai li ho aperti perchè era andato benissimo e mai aveva avuto i problemi il 10 mentre l' 8 era su di un escavatore comprato usato ma era troppo giù e l'ho sostituito con un perkins.

              Commenta


              • Originalmente inviato da olmo
                E' questione di precisione '' made in Germany''.
                Mi dicono fosse una caratteristica anche di alcuni vecchi Lombardini.
                Ognuno è ciò che è,non ciò che finge di essere....

                Commenta


                • E non solo.
                  Sempre di precisione si tratta,o no ?

                  Commenta


                  • Originalmente inviato da olmo
                    E non solo.
                    Sempre di precisione si tratta,o no ?
                    Precisione o.....precisazione
                    Originalmente inviato da Filippo B
                    ho aperto un vecchio motore Deutz ( serie FL) ed ho notato con mia sorpresa che non ha guarnizione in testa. ....Premesso che si tratta di motori con teste divise (e quindi sicuramente il binomio testa-cilindro è piu' facilmente "accoppiabile"), ma non sarebbe meglio avere comunque una guarnizione?
                    Se lo hanno fatto così......
                    Ognuno è ciò che è,non ciò che finge di essere....

                    Commenta


                    • Si Mefito, capisco che se l'hanno fatto cosi vuol dire che va bene cosi, ma la cosa comunque mi lasciava un po' perplesso e pertanto ho deciso di chiedere lumi qui.

                      Anche perche, a dirla tutta, il motore era gia stato aperto, e mi era balenata l'idea che "qualcuno" si fosse dimenticato un pezzo...... Ovviamente si fa per dire, ma certe volte quando uno da per scontato di trovare una qualche sorta di guarnizione, non vedendola ci rimane male...

                      In quanto alla precisione... mica tanto..... ho staffato in macchina (CNC) sia cilindro sia testa e ho riscontrato con comparatore un errore sui piani di chiusura testa-cilindro di circa 0,02mm per parte...
                      Inoltre è uno di quei motori che soffre sovente di incollaggio segmenti.

                      Per junker: ti ringrazio per i link, purtroppo non riesco a visualizzare i video, provo stasera con altra connessione.

                      Comunque grazie a tutti per gli interventi.

                      Commenta


                      • Originalmente inviato da Filippo B
                        Anche perche, a dirla tutta, il motore era gia stato aperto, e mi era balenata l'idea che "qualcuno" si fosse dimenticato un pezzo...... Ovviamente si fa per dire, ma certe volte quando uno da per scontato di trovare una qualche sorta di guarnizione, non vedendola ci rimane male... .
                        Mai dare per scontato che ciò che troviamo è corretto
                        Originalmente inviato da Filippo B
                        In quanto alla precisione... mica tanto..... ho staffato in macchina (CNC) sia cilindro sia testa e ho riscontrato con comparatore un errore sui piani di chiusura testa-cilindro di circa 0,02mm per parte...
                        Inoltre è uno di quei motori che soffre sovente di incollaggio segmenti.

                        .
                        Mi dicono che per il rimontaggio si debba eseguire una smerigliatura con la pasta frà i rispettivi accoppiamenti(come per le valvole).
                        Ognuno è ciò che è,non ciò che finge di essere....

                        Commenta


                        • Ottimo Mefito, ti ringrazio per la conferma. Infatti ho gia provveduto a raschiettare ed adattare la testa sul cilindro.
                          La tua conferma mi serve per sapere che ho fatto la cosa giusta.

                          Grazie di nuovo

                          Commenta


                          • "" Zylinderkopfdichtung ""
                            Come già scritto sopra da mefito in un sito ho trovato "che a volte nei motori raffreddati ad aria la guarnizione di testa, non c'è " e cita proprio il Deutz ad esempio.
                            Scrivono che la sua funzione viene invece svolta da un perfetto rasamento delle parti unito a battuta di incastro tra corpo testa e corpo cilindro.

                            Commenta


                            • Mi pare che anche il mio Hatz 12cv (tedesco pure lui, 1961) non ce l'abbia.
                              http://www.urbo.altervista.org

                              Commenta


                              • Finalmente riesco a vedere i video Junker, veramente molto belli.

                                P.S. il motore oggetto dei video la guarnizione di testa ce l'ha

                                Commenta


                                • Si Filippo.....però non hanno messo quella della coppa!

                                  Commenta


                                  • Originalmente inviato da junker
                                    "" Zylinderkopfdichtung ""
                                    Scrivono che la sua funzione viene invece svolta da un perfetto rasamento delle parti unito a battuta di incastro tra corpo testa e corpo cilindro.
                                    A Mefi',questa come la chiami : precisione, precisazione, prestazione o prestidigitazione?

                                    Pare che la guarnizione non ci sia per non ostacolare una corretta trasmissione del calore tra le parti in questione.

                                    Commenta


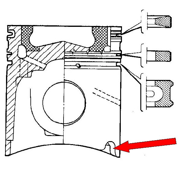
                                    • Pistoni: senso di montaggio

                                      Originalmente inviato da ppjbcol
                                      Per restare in tema de motoribus:

                                      Ho notato che molti pistoni, iveco in particolare, recano sul cielo la scritta "lato punterie", che immagino stia ad indicare in che modo va montato il pistone. Ma aldilà dell'asimmetria della camera saurer (non sempre presente) cosa può rendere necessario montare il pistone in un senso ben preciso? Il fatto che lo spinotto non è centrato?
                                      Parlando di diesel ad iniezione diretta (lo sappiamo che quelli a precamera hanno tutti una posizione obbligata), bisogna sapere che i pistoni dei moderni motori hanno quasi sempre un senso obbligato di montaggio indicato da una freccia o da un ideogramma o dalla dicitura "LATO PUNTERIE" stampigliate sul cielo del pistone.

                                      Ecco alcune motivazioni:
                                      • nei motori a 2 valvole, nei quali l’iniettore è molto inclinato e non sbuca esattamente fra le due valvole, la camera di combustione è generalmente disassata per trovarsi sotto la punta dell’iniettore (fig. A).
                                      • molti pistoni sono raffreddati internamente da un getto d’olio proveniente da uno spruzzatore fissato al basamento (fig. B): il pistone dev’essere orientato in modo che il getto d’olio centri il condotto di entrata nel tunnel anulare (fig. A) pena il possibile grippaggio per surriscaldamento, e che l’incavo (unico) in corrispondenza dello spruzzatore (fig. C) si trovi dalla parte giusta per non tranciare lo spruzzatore discendendo verso il Punto Morto Inferiore.
                                      • In alcuni motori una (o entrambe) valvola anziché essere incassata all’interno della superficie di appoggio della testa sporge leggermente: in questo caso sul cielo del pistone vi è un incasso ed il motivo del posizionamento obbligato del pistone è facilmente intuibile (fig. D).
                                      • Su alcuni motori vi può essere un leggero disassamento anche dell’asse del pistone, per cui la posizione è obbligatoria. Ciò si riscontra comunque molto raramente nei diesel e più sovente nei piccoli motori a benzina.


                                      Attached Files

                                      Commenta


                                      • Mi è capitato di vedere 2 motori stesso modello (quindi stessa testata) con i pistoni in cui uno aveva la camera di scoppio più spostata verso il centro rispetto all'altra.Questo con stessa posizione dell'iniettore,delle valvole e stessa conformazione della camera.La differenza potrebbe trovarsi nei polverizzatori degli iniettori?Che spruzzino con una gradazione diversa?Oppure questo spostamento non è poi così rilevante?(circa mezzo centimetro più in centro)

                                        Commenta


                                        • Ciao, se i due motori sono ESATTAMENTE uguali, stessa sigla, stessa variante ecc, potrebbero avere pistoni leggermente diversi perchè i costruttori non si legano mani e piedi ad un solo fornitore e montano in alternativa pistoni di una e dell'altra marca, anche per avere forniture assicurate in caso di scioperi o difficoltà di consegna.
                                          Anche se sono a disegno come prescritto dal costruttore del motore, a volte i prodotti delle diverse marche vi sono leggere differenze ma finchè rientrano nelle tolleranze vengono accettati.

                                          Un altro discorso riguarda motori uguali ma, ad esempio, omologati per norme antinquinamento diverse. Non è raro riscontrare differenze visibili tra i pistoni di un motore EuroX rispetto a quelli di un EuroY: in tal caso vi sono anche modifiche alla geometria dell'iniezione, come dici tu iniettori con diverse caratteristiche, anche con diversi angoli di getto e quindi con diversa camera di combustione. In questo caso però nella sigla del motore troviamo differenze nelle lettere o numeri che indicano la variante.

                                          Commenta


                                          • Deutz senza guarnizione

                                            Io avevo un 4 cilindri a v Deutz, accoppiato ad un compressore a lamelle rotativo per alimentare aria, psizionato in testa a un semirimorchio Adige,cisterna autoportante per cemento sfuso.il semirimorchio acquistato di seconda mano,utilizzato per trasporto cemento per brevi tratti,nei cantieri a Livorno durante la costruzione della Collesalvetti Il motore aveva parecchie ore sul groppone e mangiava olio.Durante una manutenzione decidemmo di sostituire il motore con un Lombardini sempre a 4 cilindri ad aria ma in linea e più recente.dopo la sostituzione volevamo rifare il Deutz e tenerlo come scorta per altri semirimorchi.Anche se non aveva le guarnizioni, durante il rifacimento le testate vennero smerigliate perchè leggermente deformi,quindi venne applicata una guarnizione metallica in modo da riportare il valore alla stessa misura originale.
                                            6ro ricerche

                                            Commenta


                                            • Originalmente inviato da 6ro Visualizza messaggio
                                              Io avevo un 4 cilindri a v Deutz, accoppiato ad un compressore a lamelle rotativo per alimentare aria, psizionato in testa a un semirimorchio Adige,cisterna autoportante per cemento sfuso.il semirimorchio acquistato di seconda mano,utilizzato per trasporto cemento per brevi tratti,nei cantieri a Livorno durante la costruzione della Collesalvetti Il motore aveva parecchie ore sul groppone e mangiava olio.Durante una manutenzione decidemmo di sostituire il motore con un Lombardini sempre a 4 cilindri ad aria ma in linea e più recente.dopo la sostituzione volevamo rifare il Deutz e tenerlo come scorta per altri semirimorchi.Anche se non aveva le guarnizioni, durante il rifacimento le testate vennero smerigliate perchè leggermente deformi,quindi venne applicata una guarnizione metallica in modo da riportare il valore alla stessa misura originale.
                                              Leggermente deformi perché bisogna considerare che la temperatura di funzionamento dei motori raffreddati ad aria è intorno ai 170 °C rispetto ai (circa) 90 °C di quelli raffreddati ad acqua.
                                              Per questo i motori raffreddati ad aria hanno sempre avuto (almeno quelli che ho conosciuto, i Deutz camionistici serie 913 in linea e 413 a V ) teste singole.
                                              Molti anni prima che anche sui motori ad acqua (parlo di Iveco, come ormai sapete) dagli anni ’90 venisse prescritto il serraggio delle viti della testa con il sistema precoppia + angolo, questo si faceva già da sempre sui motori Deutz, perché un’eventuale anche piccola differenza di tiraggio su una delle tre o quattro colonnette di un cilindro, lavorando a quelle temperature, avrebbe provocato una deformazione plastica e non solo elastica della testa.

                                              Commenta


                                              • Ciao a tutti scusate se arrivo in ritardo ma nn ero ancora iscritta al forum quando è stato iniziato l'argomento..... data la mia giovane età (18 anni) e la poca esperienza che ho nel campo, qualcuno sarebbe così gentile da spiegarmi cos'è quasto motore "testacalda" del quale ho letto nelle prime pagine di discussione? ho cercato ben di capirlo da me ma è andata male...... Grazie!
                                                [I]Long Live Rock n'Roll[/I]

                                                Commenta


                                                • Ciao Astra,
                                                  il motore a testa calda (detto anche semi-diesel) era un particolare motore a ciclo diesel a 2 tempi che "andava di moda" circa una sessantina di anni fa, specialmente tra i trattori agricoli.
                                                  Il nome deriva dal fatto che, a causa del basso rapporto di compressione, non era possibile fare l'accensione se prima non si provvedeva al riscaldamento della testa, con apposite lampade.

                                                  Commenta


                                                  • Originalmente inviato da Filippo B Visualizza messaggio
                                                    Finalmente riesco a vedere i video Junker, veramente molto belli.

                                                    P.S. il motore oggetto dei video la guarnizione di testa ce l'ha
                                                    Anche perchè è un raffreddato ad acqua ...

                                                    Commenta


                                                    • Grazie per la risposta Esatau, sei stato più che chiaro anche se è bereve!
                                                      [I]Long Live Rock n'Roll[/I]

                                                      Commenta


                                                      • Salve a tutti, per quanto riguarda il senso di rotazione dei motori la regola è che il motore si guarda SEMPRE dal lato volano e da lì si capisce il senso orario o antiorario, il senso di rotazione può essere invertito artificialmente solo sui grandi 2T Diesel (io lavoro sulle navi) in tal caso si inverte semplicemente l'ordine di accensione ai cilindri lasciando ovviamente il 1° invariato, tipo 1-2-4-5-3 in marcia avanti, 1-3-5-4-2 in marcia indietro. Ciò si ottiene con appositi leverismi e serie di camme che opportunamente manovrate variano la sequenza ai polverizzatori e al distributore d'avviamento. Sui 4T non mi risulta che si possano invertire, tant'è vero che su apparati motori con 4T veloci si usano frizioni e eliche a passo variabile che invertono da sole la spinta alla nave.

                                                        Commenta


                                                        • Inversione motori diesel marini 4T.

                                                          non posso far di meglio come immagini per non sciupare il libro comunque a chi interessa è di facile reperimento; Ingegner Supino, Il motore Diesel, Hoepli.

                                                          Commenta


                                                          • Già, è possibile invertire i 4T, ma probabilmente saranno scelte di cantiere, proprio mai visti in 14 anni di imbarchi!!!!

                                                            Commenta


                                                            • modello 3d

                                                              ciao a tutti!
                                                              Se qualcuno è interessato, ho messo qui, nella sezione download, un modello 3D di un motore. Ok, lo ammetto, non è un motore da MMT, ma è pur sempre un bel motore (il BMW S54 - e chi ha orecchie per intendere...).
                                                              Se vi piace, fatevi pure un giro sul mio sito GE90 - cerco suggerimenti!!!

                                                              Commenta

                                                              Caricamento...
                                                              X